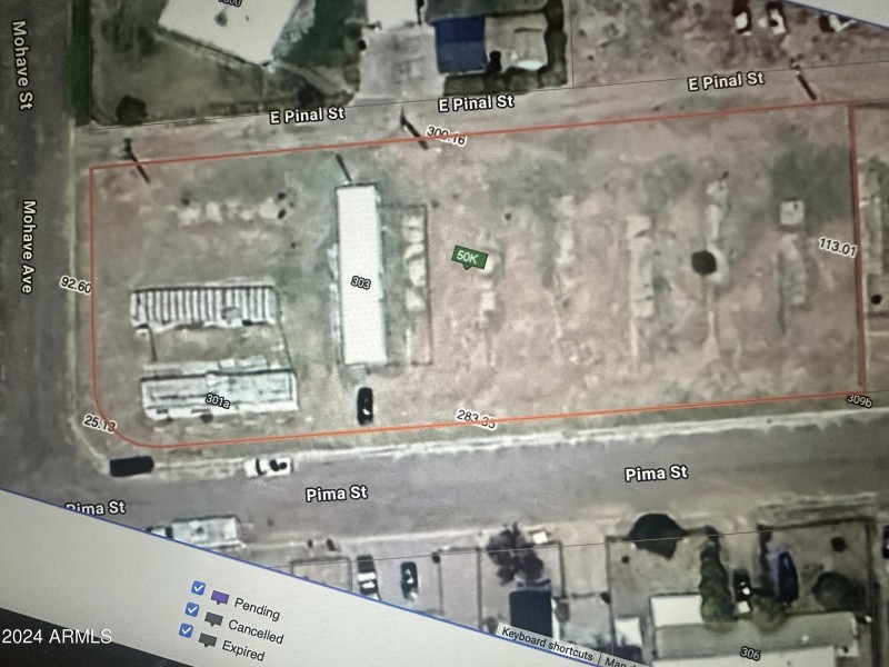
EXCELLENT OPPORTUNITY for investors. 3/4ACRE Zoned Multi-family/Residential. This is one of 2 available (301 E Yuma St (MLS #6744653) being sold AS IS. Mobile home on the middle pad on the East side of the lot does not belong to the seller. Huachuca City WILL NOT allow for any mobile to installed or to be put back in service for occupancy. Utilities are at the property but must be confirmed depending on the desired development.
Dwelling Type: Land
Subdivision: HUACHUCA VISTA ANNEX
Year Built: N/A, County: N/A
Listing is courtesy of Tierra Antigua Realty, LLC
Sign in to your account to continue